Производство и продажа
промышленного оборудования
Надежные решения для стабильного будущего
+998 908 273 555
+998 90 043 77 66
info@steels-group.uz
* Цена цельносварного резервуара вертикального исполнения формируется в зависимости от исполнения устройства, его типоразмера, комплектации и материала изготовления. Для расчета актуальной стоимости вертикальной емкости под давлением обратитесь к менеджерам ООО «СтилсГрупп» (см. Контакты)
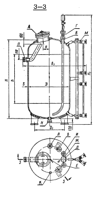
Наше предприятие ООО «СТИЛСГРУПП» осуществляет производство цельносварных резервуаров вертикального исполнения в Узбекистане.
Сосуды для работы под давлением вертикальные цельносварные применяются в различных областях промышленности для хранения и транспортировки жидких рабочих веществ под давлением 0,3 МПа.
| Емкость номинальная Vн, м3 | Диаметр внутренний, D,мм | Высота корпуса резервуара, H,мм | Высота обечайки h,мм | Высота макс. H1,мм | Ширина макс. B1, мм | Радиус окружности расположения штуцеров, R, мм | Расстояние между осями люка и крышки a, мм | |
| 2 | 1200 | 2050 | 1400 | 2980 | 1590 | 400 | 140 | |
| 4 | 1600 | 2250 | 1400 | 3260 | 2000 | 450 | 260 | |
| 6,3 | 1600 | 3350 | 2500 | 4360 | 2000 | 450 | 260 | |
| 10 | 2000 | 3580 | 2500 | 4665 | 2405 | 620 | 260 | |
| 16 | 2400 | 3930 | 2650 | 5030 | 2808 | 850 | 300 | |
| 25 | 2400 | 5780 | 4500 | 6880 | 2808 | 850 | 300 | |
Производство емкостного оборудования данного типа осуществляется из алюминия А5, АД1 и АМц. Готовые цельносварные резервуары подвергаются гидравлическим испытаниям пробным давлением на нашем аттестованном гидростенде.
Сосуды под давлением вертикального исполнения оборудованы трубой передавливания; люком/люками для профилактического осмотра, очистки и ремонта внутренних поверхностей и устройств; штуцерами подвода и отвода рабочей среды; штуцерами для установки технологического оборудования.
При необходимости мы можем укомплектовать резервуар цельносварной, работающий подл давлением контрольно-измерительными приборами (указатели уровня, сигнализаторы уровня, манометры и т.п.) и запорной арматурой (трехходовыми кранами, затворами, предохранительными клапанами и т.д.).
| Емкость номинальная Vн, м3 | Для наполнения продукта | Для трубы передавливания | Для передавливания продукта | Для подсоединения колонки | Для вывода воздуха и пара (резьба метрическая) | Для выпуска продукта | Для перелива продукта |
| 2 | 80 | 80 | 50 | 70 | 80 | 80 | 50 |
| 4 | 100 | 80 | |||||
| 6,3 | |||||||
| 10 | |||||||
| 16 | 100 | 100 | 100 | ||||
| 25 |

